Запасные части ЧТЗ Запасные части ЧТЗ
Нижневартовск
Например:
Актобе
Алдан
или
Выбрать автоматически
Актобе
Алдан
Алматы
Алчевск
Архангельск
Астана
Астрахань
Атырау
Баку
Балашиха
Барнаул
Белгород
Бердянск
Бишкек
Владивосток
Владикавказ
Воркута
Воронеж
Горловка
Грозный
Донецк
Екатеринбург
Иваново
Ижевск
Иркутск
Казань
Калининград
Каменск-Уральский
Караганда
Каховка
Кемерово
Киров
Комсомольск-на-Амуре
Костанай
Краснодар
Красноярск
Красный луч
Ленск
Луганск
Магадан
Магнитогорск
Макеевка
Махачкала
Мелитополь
Минск
Мирный (Якутия)
Москва
Мурманск
Нерюнгри
Нижневартовск
Нижний Новгород
Нижний Тагил
Новая каховка
Новокузнецк
Новосибирск
Новый Уренгой
Норильск
Ноябрьск
Нур-Султан
Омск
Оренбург
Ош
Павлодар
Пермь
Петрозаводск
Петропавловск
Петропавловск-Камчатский
Псков
Ростов-на-Дону
Салехард
Самара
Санкт-Петербург
Саратов
Севастополь
Семей
Симферополь
Сочи
Ставрополь
Сургут
Сыктывкар
Тараз
Ташкент
Токмак
Томск
Тында
Тюмень
Ульяновск
Усинск
Усть-Каменогорск
Уфа
Хабаровск
Ханты-Мансийск
Херсон
Челябинск
Чита
Шымкент
Экибастуз
Энергодар
Южно-Сахалинск
Якутск
Ваш город
Нижневартовск
Войти
Запасные части к тракторам на одном сайте
+7 (932) 303-00-10
+7 (932) 303-00-10
г. Нижневартовск, ул. Авиаторов, д. 16
Пн-Пт: 9:30-18:30 Cб-Вс: Выходной
Отправить заявку


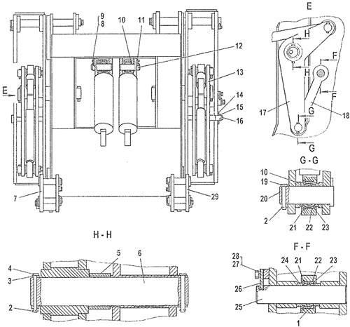
Противовес крана ТР20 на ТР20 и ТР12


/
с НДС 20%
Описание
Противовес крана ТР20
Поз.ОбозначениеНаименованиеКол-во
1Гидроцилиндр 50-50-225СП2
1 50-50-185СПГидроцилиндр2
271-53-178СПТяга2
371-53-128СПРычаг1
471-53-172СПРама1
571-53-216СПГруз4
671-53-188-01Ось2
771-53-186Втулка6
8М16-8gх30.58.019Болт 20
9Шайба 16 ОТ 65Г0912
1071-53-305Планка10
1171-53-187Ось4
1171-53-187-01Ось2
1271-53-177СПТяга2
1380-52-127Кольцо2
1480-52-128Втулка2
15700-58-2533Кольцо стопорное2
1671-53-11Ось2

Противовес ТР20
Противовес ТР20
Поз.ОбозначениеНаименованиеКол-во
171-53-177-01СПТяга2
24x32.019Шплинт 8
371-53-117Кольцо2
471-53-113Палец4
571-53-190Втулка2
671-53-194Ось2
771-53-171СПКронштейн1
8М10-6gх22.58.019Болт 4
910 ОТ 65Г 09Шайба 4
1050-50-302Кольцо4
1171-53-174Пластина2
1271-53-187-01Ось2
1371-53-173СПКоромысло1
1471-53-286Бонка1
158x80.019Шплинт 1
1671-53-169СПСтяжка1
1771-53-170СПКоромысло1
1871-53-178-01СПТяга1
1971-53-116Палец4
2071-53-118Палец4
21Кольцо стопорное 700-58-25332
2280-52-127Кольцо2
2380-52-128Втулка2
2471-53-191-01Кольцо4
2571-53-188Ось2
2671-53-305Планка10
27М16-8gх30.58.019Болт 20
2816 ОТ 65Г 09Шайба 20
2971-53-176СПКронштейн1
Противовес крана ТР20